機能性カーテンレール TOSO ニューデラック
セット内容・商品仕様
セット内容
-
シングルレール 1本
ランナー
1.82m=16コ、2.00m=18コ、2.73m=26コ、
3.00m=28コ
マグネットランナー 1組
キャップストップ 2コ
シングルブラケット(正面付または天井付)
1.82m=3コ、2.00m=3コ、2.73m=4コ、3.00m=5コ -
ダブルレール 2本
ランナー
1.82m=32コ、2.00m=36コ、2.73m=52コ、
3.00m=56コ
マグネットランナー 2組
キャップストップ 4コ
ダブルブラケット(正面付または天井付)
1.82m=3コ、2.00m=3コ、2.73m=4コ、3.00m=5コ
ブラケット用ビスが付いておりません。
ビスはブラケットの個数分必要となります。

商品仕様
-
レール断面図(単位:mm)

-
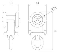
ランナー寸法図(単位:mm)

ブラケット取付間隔とカーテン許容荷重

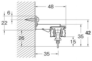
取付寸法図(単位:mm)
-
正面付シングルブラケット(ブラケット幅=19mm)

-
天井付シングルブラケット(ブラケット幅=18mm)

-
正面付ダブルブラケット(ブラケット幅=19mm)

-
天井付ダブルブラケット(ブラケット幅=18mm)

