
立川機工ロールスクリーン商品仕様
ダブルロールスクリーン
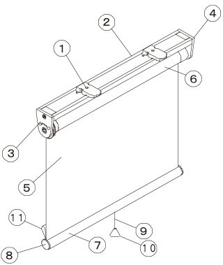
構造図
プルコード式
単位:mm-


-
側面図
- 正面付けの場合

- 天井付けの場合

-

-
カーテンボックスに取り付ける場合

ブラケット
天井付けの場合は取り付けブラケットのみ、正面付けの場合は取り付けブラケットと
正面付け補助金具の両方が本体に付属します。
ティオリオ
構造図
プルコード式
単位:mm-


-
側面図
ブラケット













PICK UP
おすすめ商品
![]()